BB电子官网

?
您好,迎接接见BB电子官网官网!
gq中文yggq英文 ▏hggq韩文
1696682311577585
2023-01-12

危险废料传染环境防治信息

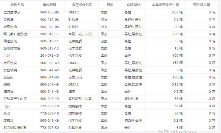
凭据《中华人民共和国固体废料传染环境防治法》的要求,产生固体废料的单元,该当依法实时公开固体废料传染环境信息,自动接受社会监督。结合我公司现实情况,现将2023年危险废料传染环境防治信息公开如下:传染防治措施:1.应按危险废料治理要求,委托拥有危险废料经营许可单元进行措置,每年前向生态环境局申报本单元年度危

1660615557131381
2022-07-06

ODA的利用

聚酰亚胺作为一种特殊的工程资料,拥有耐高温、耐辐射、机械强度高的利益。宽泛利用于薄膜、涂料、纤维、航空航天、电子电气、泡沫塑料、光刻胶等行业。

1660615530777493
2022-05-18

出产打算

山东BB电子官网高分子资料科技有限公司疫情防控工作获得显著功效,疫情期间工厂出产情况始终不变。我们2022年下半年的ODA(4,4'-Oxydianiline)产量约为2500吨。我们极度感激,并将越发关注所有客户的任何询问。

1660615494202063
2022-02-23

八年深耕成就行业金星

近日,位于巴彦淖尔港新资料产业园的山东BB电子官网高分子资料科技有限公司(股票简称:“BB电子官网科技”,股票代码:“873670”)成功挂牌新三板创新层面,成为巴彦淖尔港经济开发区首家新三板创新层面企业。

1660615462599158
2022-01-06

山东BB电子官网——ODA行业辅导者

山东BB电子官网高分子资料科技有限公司成立于2014年,是一家专业出产4,4'-Oxydianiline(ODA)的企业,技术当先世界,年产5000吨以上。公司是100多家国内表客户的合格供给商,在行业内享有盛誉。



< 12 2/2 >
?
【网站地图】