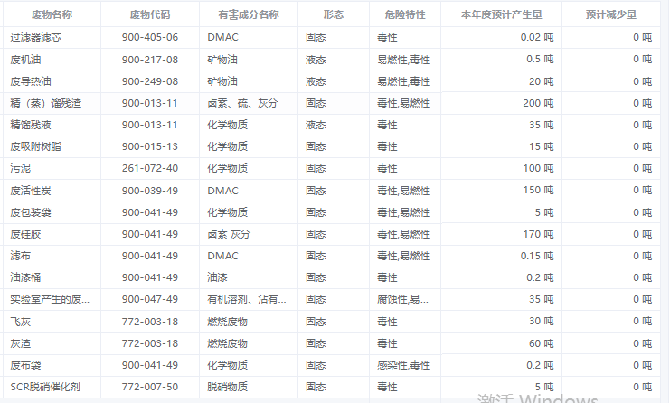
危险废料传染环境防治信息
凭据《中华人民共和国固体废料传染环境防治法》的要求,产生固体废料的单元,该当依法实时公开固体废料传染环境信息,自动接受社会监督。结合我公司现实情况,现将2023年危险废料传染环境防治信息公开如下:

传染防治措施:
1.应按危险废料治理要求,委托拥有危险废料经营许可单元进行措置,每年前向生态环境局申报本单元年度危险废料治理打算。
2.危险废料转移前,向生态环境局申请,转移联单存档。
3.严格依照与经营单元合同内进行转移,出库时并确认包装无缺与现实沉量。应急措置措施:
1.危险废料产生泄露时,**发现人立即向公司辅导汇报,顿时通知危险废料仓库治理人员和安全员,**功夫采取有效方式进行应急措置工作,预防传染扩大。若有人员受伤,应实时送医救治。
2.现场措置人员应穿戴好防护服装,防毒面具等防护用品,严格依照突发环境风险应急预案进行措置。